Каталог товаров

Электропривод belimo NM-230 A

Код: Р-016008
Нет в наличии
Страна происхождения
ШВЕЙЦАРИЯ
Единица измерения
шт
Вес (кг)
2
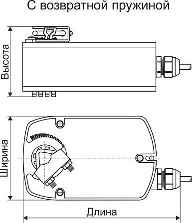
Высота (мм)
62
Длина (мм)
165
Ширина (мм)
80
Цена уточняется
Описание товара
Характеристики
Описание товара
Электропривод без возвратной пружины предназначен для управления воздушными заслонками и клапанами.
Характеристики товара

Технические характеристики электроприводов без возвратной пружины

 

Тип

привода

Номинальное

напряжение, В

Крутящий

момент, Н·м****

Площадь

заслонки, м²****

Потребляемая мощность, при вращении/в состоянии покоя, Вт

Управление

NM230A

220

10

2

2,5/0,6

Открыто/закрыто или

трехпозиционное

* Подбор электропривода осуществляется по крутящему моменту и площади поперечного сечения заслонки.

** Вспомогательный переключатель: 1 однополюсный, 1 мА…3(0,5) А, 250 В~(настраивается 0 ... 100%)

*** Площадь заслонки указана справочно. При выборе электропривода необходимо учитывать также величину необходимого крутящего момента.

Принцип действия (для моделей LM24A-SR, NM24A-SR, SM24A-SR, GM24A-SR). Электропривод управляется стандартным управляющим сигналом 0…10 В=. Он открывается до положения, продиктованного сигналом. Измеряемое напряжение U позволяет отображать действительное положение электропривода электрическим способом, а также управлять другими электроприводами.

Установка. Простая установка непосредственно на вал заслонки при помощи универсального захвата, снабжается фиксатором, предотвращающим вращение корпуса электропривода.

Ручное управление. Возможно ручное управление при помощи кнопки с самовозвратом (при нажатой кнопке редуктор выводится из зацепления).

Надежность. Электропривод защищен от перегрузки, не требует конечных выключателей и останавливается автоматически при достижении конечных положений.

 

Электрическая схема подключения


Эл_схема LM230A, NM230A, SM230A.jpg